1. JTAlert 2.60.9 バ-ジョンアップ7月16日付でJTAlertが改版されていたので適用しました。JTAlertは、ほぼ月1回の頻度でバージョンアップされています。開発者の VK3AMAさんはCallsign Databaseの更新も兼ねて月一度のバージョンアップを目標にされているようです。(^^;今 ...
もっと読む
タグ:無線機
中国製 DC電源 SPS-1332
(5月10日 追記)昨日記事を書いたばかりですが、今日は9,999円に値上がりしていました。(^^;私が宣伝したせいではないと思いますが(笑)、たくさん売れたので値上げしたんでしょうかね。連続最大電流1Aあたりの比較では、まだ安いですが、お得感が薄れましたね。(ここから本 ...
もっと読む
IC-9700 バックアップ電池交換
今日は雨で時間があったのでIC-9700のバックアップ電池の交換をやりました。昨年10月にIC-7300Mのバックアップ電池交換をやりましたが、今度はIC-9700の電池が駄目になりました。4月16日の夜に停電がありましたが、雷がひどかったので無線機のアンテナや電源を外しておきまし ...
もっと読む
FTDX10(FTDX101、FT-710) FT8通信の設定
今朝は良い天気ですが、昨夜は雷が凄くて雹も降りました。近くの送電線に落雷があったようで夜の8時半から11時頃まで停電していたようです。私は10時過ぎても真っ暗なままで何もできないので、さっさと寝ました。(笑)昨日の午後、知り合いの山口市の局長さんのFT8設定をお手 ...
もっと読む
IC-9700のUSBシリアルポート
以前から気になっていたのですが、IC-9700にはUSBシリアルポートが2つあります。WSJT-XやJTDXでは通常、若いほうの番号のCOMポートを指定すれば動きますが、人(パソコン)によっては、もう一方の番号のCOMポートを指定しないと動かない事があります。今回、ブログ読者からI ...
もっと読む
IC-7300 基準周波数の校正
フェースブックで「IC-7300の周波数がずれている」という話題を目にしたので、久々に自分のIC-7300Mの基準周波数の校正をやりました。基準周波数の校正のしかたを記事にしておきます。基準周波数の校正方法はマニュアルに書かれています。マニュアルの内容どうりやれば難しく ...
もっと読む
IC-7300のDAC ビット数(メモ)
JTDXの32-bit_audio版に関してコメントいただきました。無線機が32bitで無いと使う意味は無いと思います。私が使ってるIC-7300MはAudio DAC(Digital to Analog Converter)が16bitなので32bit版を使う意味がないですが、32bit DAC を使っているSDRがあるようです。ちょっと気 ...
もっと読む
FT8通信ソフトとHAMLOGのリグ接続の使い分け
先の記事「CI-V分岐ケーブル制作」、「CI-V分岐ケーブルを使ったHAMLOG 複数リグ接続」でWSJT-XやJTDXなどのFT8通信ソフトを使うとHAMLOGのリグ接続が出来ないので、ICOMリグのREMOTE端子を使って競合しないようにするという記事を書きました。しかし、CI-V分岐ケーブル制作 ...
もっと読む
CI-V分岐ケーブルを使ったHAMLOG 複数リグ接続
先の記事「CI-V分岐ケーブル制作」で書いたように、CI-V分岐ケーブルを使ってHAMLOGと複数リグを1個のシリアルポートに接続できるようにしたので、やり方を記録しておきます。 接続したリグはIC-7300MとIC-9700です。どちらもUSBポートはFT8ソフト(JTDX、WSJT-X)で使ってい ...
もっと読む
CI-V分岐ケーブル制作
ブログ読者から「JTDXでFT8をやっている時はCATで周波数がHAMLOGに取り込まれますが、FT8をやっていない時(SSBでの交信時等)HAMLOGで周波数、モードを自動取得するにはどうすれば良いのでしょうか?」という質問をいただきました。FT-710を使われているそうです。残念なが ...
もっと読む
IC-9700 キャリングハンドル取付け
今日から11月です。2か月カレンダーは最後の一枚になりました。昨日、IC-7300Mのバックアップ電池交換をやりましたが、IC-7300Mにキャリングハンドルが付いているのを見て、IC-9700用のキャリングハンドルがあったのを思い出しました。IC-9700は2019年4月に購入しましたが、 ...
もっと読む
IC-7300 バックアップ電池交換
夏ごろからIC-7300Mの電源を長時間切っていると、内蔵時計がリセットされるようになりました。9月19日の台風14号では約12時間停電しましたが、復旧後IC-7300の時計がリセットされていました。アイコムの無線機は時計のバックアップに充電可能な電池(2次電池)を使っていて、寿 ...
もっと読む
JTAlert 2.60.0、HAMLOG 5.37、IC-9700 F/W 1.32 バージョンアップ
今日は時間があったので、バージョンアップ デーにしました。8月11日付でJTALert 2.60.0 がリリースされたので、バージョンアップしておくことにしました。他にHAMLOGも最新版にしていなかったので、バージョンアップしました。さらに、IC-9700のファームウェアも8月5日付で ...
もっと読む
クラシック無線機展示
今週末はいよいよ「アマチュア無線を楽しもう!」イベントですが、今日は会場のアスピラート市民ギャラリーのショーウィンドウに古い無線機を展示してきました。市民ギャラリーでは絵画や焼き物などの展示会が多いからか、ギャラリーの外にシューウィンドウがあり、イベント ...
もっと読む
IC-7300M、IC-9700 FWバージョンアップ、レピータリスト更新 山口430追加
7月9日付けでIC-7300とIC-9700のファームウェアがバージョンアップされてので適用しました。 それぞれ、以下の変更内容との事です。 1. IC-7300 Version 1.41 Version1.40からの変更点 ・マイクPTT以外での送信中にマイクPTTの操作を検出するための設定を追加 ・スコープ( ...
もっと読む
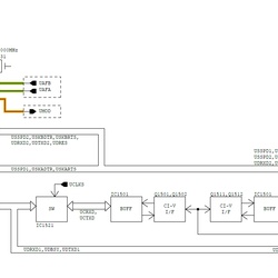
ICOM機 DATA端子、REMOTE端子 考察
今日は良い天気で暑くなりそうです。 Facebookのお友達の投稿に「IC-9700にGPSを接続した」という話しがありました。秋月電子通商のGPSレシーバーをRS232Cに変換して接続したそうです。 気になってIC-9700のGPSレシーバーのインターフェースを調べてみました。 自分用の覚え ...
もっと読む
IC-9700 F/W Version1.30 FT8プリセットメモリー初期値
先の記事「IC-7300 F/W Version1.40 FT8プリセットメモリー初期値」に続いて、IC-9700のプリセットメモリー初期値も調べました。 IC-7300の場合と同じく、ざっと見て確認したただけなので間違いがあるかも知れません。(笑) IC-9700のファームウェア Version1.30で「プリセッ ...
もっと読む
IC-7300 F/W Version1.40 FT8プリセットメモリー初期値
IC-7300のファームウェアをVersion1.40に更新しましたが、新しい機能として「プリセット機能」が追加されました。デフォルトのプリセットで「通常」と「FT8」が用意されています。 それぞれの設定内容を確認したので掲載しておきます。 ざっと見て確認したただけなので間違い ...
もっと読む
IC-9700 ファームウェアバージョンアップ Version1.30
先の記事「IC-7300M ファームウェアバージョンアップ Version1.40」でIC-7300Mをバージョンアップした件を書きましたが、続けてIC-9700もバージョンアップしました。 IC-9700の前回のVersion1.23へのバージョンアップは2020年4月でした。 その後、Ver1.24も出ていましたが、 ...
もっと読む
IC-7300M ファームウェアバージョンアップ Version1.40
2月26日付でIC-7300とIC-9700のファームウェアがバージョンアップされていました。 野菜出荷が忙しかったので後回しになっていましたが、今日は収穫が無かったので午後にバージョンアップ作業をやりました。 IC-7300MとIC-9700の両方ともバージョンアップしましたが、最初にI ...
もっと読む



















